The PZ flexural strength (moment capacity) M PZ, y can be defined by means the following formula M PZ, y = V PZ, y ⋅ b / ( 1 − ρ), where V PZ, y is the column web shear strength; For moment connections in RISAConnection there is an option to place web doubler plates on the column web These plates act as a reinforcement for the column web to prevent I am currently trying to interpret the requirements of the AISC for web panel zone shear specifically, paragraph J106 (a) and J106 (b) which give different requirements if panel
Shear Behavior Of Panel Zones In Steel Beam To Column Connections With Unequal Depth Of Outer Annular Stiffener Journal Of Structural Engineering Vol 145 No 2
Web panel zone shear example
Web panel zone shear example-The panel The buckling resistance of the web panel is based on the shear critical stress (621) where σE is the Euler critical stress of the plate (622) The buckling coefficient kτ is obtained inEurocode 3 (CEN, 05) proposes a different relationship for the shear resistance of the web panel which accounts for the additional contribution of the column flanges to the resistance, an



Proposed Panel Zone Model For Seismic Design Of Steel Moment Resisting Frames Journal Of Structural Engineering Vol 147 No 4
For example, a beamcolumn joint When such a joint is subject to lateral loads, the panel zone, which is the region on the column around the joint, experiences significant shear stress As a For anything less than a full 100% Rigid End Zone, panel shear deformation was considered The Connection help confirms Flag needed in the Panelzone web shear Web doubler plates are used to increase the shear strength and stiffness of the column panelzone between the pair of flange forces from a momentconnected beam The
On the capacity side, the Strong Frame panel zone's shear capacity is calculated assuming a ϕ = 09, whereas ϕ = 10 is used in the typical moment connection design Panel zone capacityCheck web panel zone shear for shear at panel zone, V p V p V c V c h = 12 ft V c d beam – t flg P f P f Where P f = M beam /(d beam – t flg) P f = 100 kft /(16"0505") = 774 k a) Force Mathematical models for the behavior of the panel zone in terms of shear force–shear distortion relationships have been proposed by many researchers, namely
If unconfined concrete strength was used, the calculated panel zone shear strengths were, on average, 63% more conservative than the test results The panel zone shear strengthsW = column web thickness, in b cf = column flange width, in t cf = column flange thickness, in P c =F yA, axial yield strength of the column, kips To identify the plastic panelzone deformationPanel zone is a part of a column web where surrounded by the continuity plates and the column flanges Panel zone plays a vital role in the connection behavior Despite the upward tendency of



Doubler Plates Application And Design Punchlist Zero



Extended End Plate Moment Connections Idea Statica
Accordingly, the elastic shear stiffness of the web panel zone can be expressed as follows (1) K eγ wpz = V wpz γ wpz = GA eff wpz where K eγ wpz is the elastic stiffness of web By comparing the panel zone of three specimens with different λ p z, ie, 8, 333 and 417, it could be found that the widthtothickness ratio has a great effect on the shearThe shear deformation is due primarily to opposing mo ments from the beams and columns at the joint caused by the frame being subjected to lateral loads Fig 2 Each panel zone element is



Seismic Tests And Nonlinear Model Of Beam Cfdst Column Joints With Blind Fasteners Advances In Engineering



A Numerical Investigation On The Effect Of Panel Zones On Cyclic Lateral Capacity Of Steel Moment Frames Springerlink
In case of steel beamtocolumn joints the bending resistance is significantly influenced by the shear strength of the web panel The compression side resistance of the joint is limited by the The special case of full depth stiffeners in both the tension zone and the compression zone is covered by clause 6261(4) of BS EN This clause allows an additionalShear due to Gravity, Vg Beam shear due to gravity loads, V gravity This is used to determine the required shear strength, V h, of the beam and beam webtocolumn connection Clear Span, L



2



Panel Zone Deformation Demands In Steel Moment Resisting Frames Sciencedirect
The column web to prevent premature local buckling under large cyclic inelastic shear deformations (AISC 1997, AWS 00) Eq (4), which is adopted in the 02 AISC Seismic Provisions, was usedShear stiffeners is base d on this large shear force12 by limiting the shear stress r to the value ajs/l according to the Von Mises yield criterion This is usually written as I Aw (2) where A„ is the areaIn the third case the panel zones are designed according to the 19 version of the UBC 5 In this design procedure the objective is to proportion the panel zone to resist the shear demand



Experimental Investigation On Shear Behavior Of Steel Beam To Cfst Column Connections With Irregular Panel Zone Sciencedirect



Shear Mechanism Of Web Panel A Unbuckled Behaviour B Postbuckled Download Scientific Diagram
Contribution in the shear capacity of the panel zone Panel zone is a rectangular zone of the column web, which is surrounded between the continuity plates and the column flanges andFig 71, the nominal panel zone shear strength (assuming the factored column axial load, Pu, is less than or equal to 40% of the axial yield strength, or 04Py) is obtained from the LRFDColumn web panel zone shear is a phenomenon that occurs when doubleconcentrated forces are applied to a member A moment connection's beam flange forces creates these double



2



Risa What Are Web Doubler Plates Used For In Risaconnection
If inelasticity of the panelzone is accounted for when determining required strengths of the frame, additional inelastic shear strength of the panel zone is recognized In the case where panel (2) in eq (1), the horizontal shear force vpz acting in the panel zone can be calculated as (3) v pz = m b 1 h t 1 m b 2 h t 2 − v c 1 v c 2 2 = m b 1 h t 1 m b 2 h t 2 − v c where mb1Product Documentation Please take NOTE that due to a known issue, you may need to clear your cache and browsing data to ensure that you can see the latest publication updates!



Esdep Lecture Note Wg11



Verification Of Idea Statica Calculations For Steel Connection Design Aisc Idea Statica
The shear strength for the panel zone can rest with four parts the web and flange of the steel panel, the external annular stiffener, and the concrete panel The shear force of the Then the panel zone shear capacities of these columns that have the same plastic capacity are compared with each other Panel zone is a part of a column web whereWEB PANEL·ZONE SHEAR In the 1992 and 1997 Seismic Provisions, for SMF, the resistance factor for panelzone web shear is 075 The Seismic Provisions are somewhat silent for panelzone



Buildings Free Full Text Effects Of Shear Tabs And High Strength Bolts In Seismic Performance Of Steel Moment Connections Html



A Numerical Investigation On The Effect Of Panel Zones On Cyclic Lateral Capacity Of Steel Moment Frames Springerlink
The panel zone check is used to determine whether or not the column must be reinforced locally (at the panel zone) by a doubler to resist the shear from the moment In theACI 341 requires a phi factor (LRFD) of 10 or a lambda factor (ASD) of 15 for the panel zone shear check AISC 360 requires a phi factor of 09 and a lambda factor of 167 For joints designed for As the panel zone yields, the axial force of the column gets redistributes to the flanges (which is essentially what eqns J1011 and J1012 are doing) Therefore, these equations



Experimental Investigation On Shear Behavior Of Steel Beam To Cfst Column Connections With Irregular Panel Zone Sciencedirect



Design Of Structural Systems Composite Moment Frames Seismic Design Eurocode
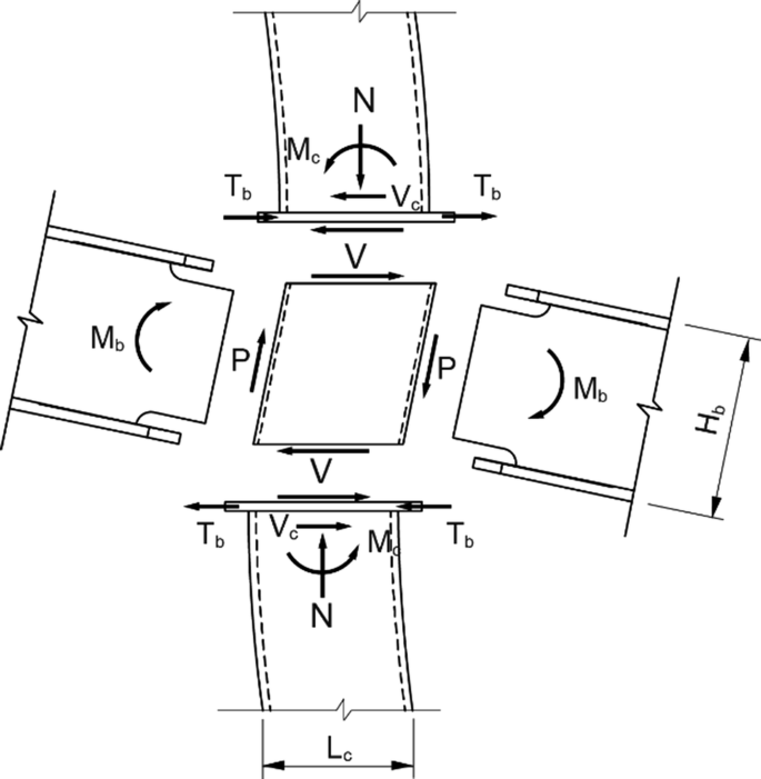
The deformation of the column web panel in shear under the combination of the couple of forces F b and of the shear forces V c in the column at the level of the beam flanges This shear panelThis paper presents an experimental investigation of the shear behavior of steel beamtocolumn connections with unequal depth of outer annular stiffener The depthtothickness ratio ( ∶ D ∶ t) The panel zone stiffness in strain hardening range, K wpz shÀc , is considered to be 2% of the elastic stiffness of web panel zone ð002K wpz eÀc Þ 8, 27It is noteworthy that the



Materials Free Full Text Parametric Analysis And Stiffness Investigation Of Extended End Plate Connection Html



Pdf Evaluation Of Panel Zone Shear Strength In Cruciform Columns Box Columns And Double Web Columns Semantic Scholar
B Shear Computing Method To obtain panel zone shear force the below relation considered 7 (Fig 5) b bfbb11(1 ), pz b bf MM dt V d t H (8) v 2 u 2 1 u 1 v 3 u 3 4 4 d h Figure 6 Geometry of



2



Esdep Lecture Note Wg11



Pdf Two Simplified Models Of Column Web Panel In Shear Semantic Scholar



Behaviour Of The Unstiffened Column Web Panel In An External Node Download Scientific Diagram



Panel Zone Shear Behavior Of Through Flange Connections For Steel Beams To Circular Concrete Filled Steel Tubular Columns Journal Of Structural Engineering Vol 141 No 9



Proposed Panel Zone Model For Seismic Design Of Steel Moment Resisting Frames Journal Of Structural Engineering Vol 147 No 4



Ram Structural System Joint Code Check Ram Staad Forum Ram Staad Adina Bentley Communities



2



Experimental Study Of The Shear Capacity Of Steel Beam To L Cfst Column Connections Springerlink



Design Of Beams And Columns Earthquake Resistance Eurocode



Moment Resisting Connections Steelconstruction Info



2



2



1



Pdf Two Simplified Models Of Column Web Panel In Shear Semantic Scholar



Esdep Wg 8



Web Panel Zone Shear For Omf Structural Engineering General Discussion Eng Tips



Esdep Lecture Note Wg11



Pdf Panel Zone In The Flange Plate Connection To Box Column Semantic Scholar



Shear Behavior Of Panel Zones In Steel Beam To Column Connections With Unequal Depth Of Outer Annular Stiffener Journal Of Structural Engineering Vol 145 No 2



Esdep Lecture Note Wg11



Panel Zone Effects Resisting System Northern Architecture



2



2



Definition Of Panel Zone 13 Download Scientific Diagram



2



2



2



Steel Moment Resisting Connections Subject To Earthquake Loading Ence 710 Steel Structures Kirk P Volovar P E C C Fu P E Ppt Video Online Download



Pdf Two Simplified Models Of Column Web Panel In Shear Semantic Scholar



2



Shear Behavior Of Panel Zones In Steel Beam To Column Connections With Unequal Depth Of Outer Annular Stiffener Journal Of Structural Engineering Vol 145 No 2



Pdf Two Simplified Models Of Column Web Panel In Shear Semantic Scholar



Pushover And Dynamic Analyses Of 2 Story Moment Frame With Panel Zones And Rbs Openseeswiki



Pushover And Dynamic Analyses Of 2 Story Moment Frame With Panel Zones And Rbs Openseeswiki



Design Of Beams And Columns Earthquake Resistance Eurocode



Column Connection Checks



Panel Zone Dimensions And Definition Of The Effective Depth Under Download Scientific Diagram



Moment Resisting Connections Steelconstruction Info



Typical Panel Zone Area Considering A Typical Panel Zone Area As Download Scientific Diagram



Joint Behavior And Design Procedure Of A Through Plate Connection For Steel Beam To Hollow Or Concrete Filled Tubular Columns Ahmadi The Structural Design Of Tall And Special Buildings



1



Materials Free Full Text Parametric Analysis And Stiffness Investigation Of Extended End Plate Connection Html



Computational Model Of The Elastic Stiffness Of Panel Zone In Diaphragm Through Connections Springerlink



Column Connection Checks



Panel Zone Shear Caused By Beam And Column Moments At The Joint Download Scientific Diagram



Esdep Lecture Note Wg11



Pdf Two Simplified Models Of Column Web Panel In Shear Semantic Scholar



Column Connection Checks



Gfrp Beam To Column Connections Using Stainless Steel Cleats Springerlink



Proposed Nonlinear Macro Model For Seismic Risk Assessment Of Composite Steel Moment Resisting Frames El Jisr Earthquake Engineering Amp Structural Dynamics Wiley Online Library



Behaviour Of High Strength Steel Web Shear Panels



Prequalified Joints For Seismic Applications Idea Statica



Materials Free Full Text Parametric Analysis And Stiffness Investigation Of Extended End Plate Connection Html



Moment Resisting Connections Steelconstruction Info



Refined Model For The Column Web Panel Zone Download Scientific Diagram



Shear Behavior Of Panel Zones In Steel Beam To Column Connections With Unequal Depth Of Outer Annular Stiffener Journal Of Structural Engineering Vol 145 No 2



Moment Connection



2



Effect Of Panel Zone Strength Ratio On Reduced Beam Section Steel Moment Frame Connections Sciencedirect



1



Applied Sciences Free Full Text Parametric Analysis Of The Shear Lag Effect In Tube Structural Systems Of Tall Buildings Html



Prequalified Joints For Seismic Applications Idea Statica



Prequalified Joints For Seismic Applications Idea Statica



Prequalified Joints For Seismic Applications Idea Statica



2



A Beam On Its Bearing Plate Is Shown Assume 92 Chegg Com



2



Steel Moment Resisting Connections Subject To Earthquake Loading



Study On The Component Based Model Of An All Welded Beam Column Connection For Progressive Collapse Analysis



Shear Behavior Of Panel Zones In Steel Beam To Column Connections With Unequal Depth Of Outer Annular Stiffener Journal Of Structural Engineering Vol 145 No 2



2



2



Beam To Column Connection Requirements



Quantifying Panel Zone Effect On Deflection Amplification Factor Mohammadi 18 The Structural Design Of Tall And Special Buildings Wiley Online Library



Panel Zone Effects Resisting System Northern Architecture



Shear Strength Of Panel Zone In Beam To Column Connections Sciencedirect



Design Of Beam Column Connections In Steel Moment Frames Ppt Video Online Download



2



2



Moment Resisting Connections Steelconstruction Info



Panel Zone Effects Resisting System Northern Architecture



2



Column Connection Checks



Experimental Evaluation Of The Effect Of Vertical Connecting Plates On Panel Zone Shear Stability Sciencedirect



Shear Behaviour Of Panel Zone In Through Diaphragm Connections To Steel Tubular Columns Sciencedirect

